Welcome to visit Scientia Silvae Sinicae,Today is

Scientia Silvae Sinicae ›› 2020, Vol. 56 ›› Issue (12): 49-59.doi: 10.11707/j.1001-7488.20201206

Previous Articles     Next Articles

Relationship between the Hydraulic Function and the Anatomical Structure of Branch and Root Xylem in Three Taxodiaceae Species in Humid Area

Tiantian Pan1,Yan Li1,2,3,Zhongyuan Wang1,2,3,Shitong Lu1,Linfeng Ye1,Sen Chen1,Jiangbo Xie1,2,3,*   

  1. 1. State Key Laboratory of Subtropical Silviculture Zhejiang A&F University Hangzhou 311300
    2. State Key Laboratory of Desert and Oasis Ecology Xinjiang Institute of Ecology and Geography, Chinese Academy of Sciences Urumqi 830011
    3. College of Forestry and Biotechnology, Zhejiang A&F University Hangzhou 311300
  • Received:2019-12-06 Online:2020-12-25 Published:2021-01-22
  • Contact: Jiangbo Xie

Abstract:

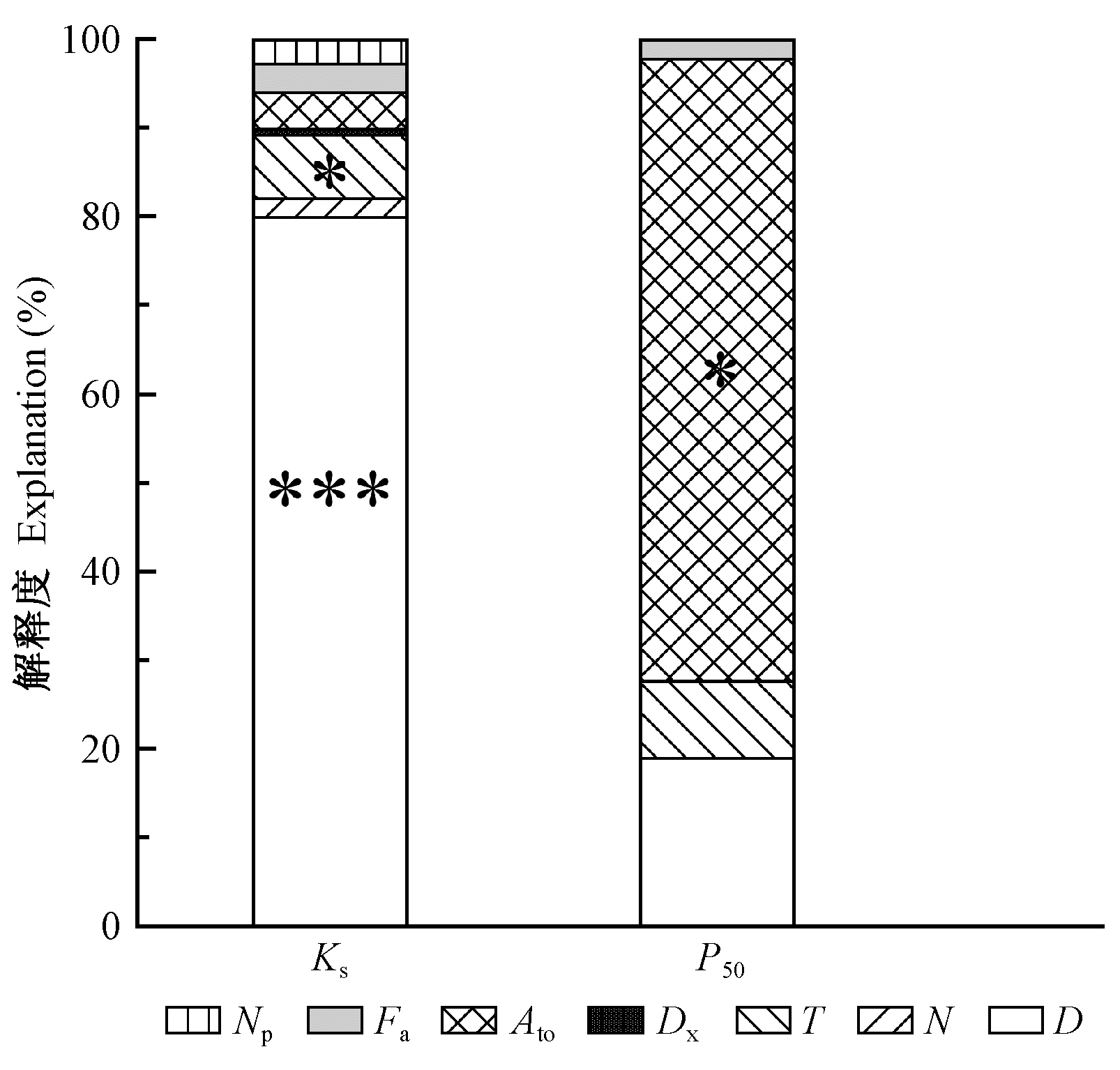
Objective: Global warming leads to increased intensity and higher frequency of drought. The difference of the hydraulic functions and xylem structure between branches and roots of three Taxodiaceae species in the humid area, as well as the quantitative relationship between the structure and the hydraulic function of xylem, was studied to understand the mechanism of adaptation to drought of plants in the humid area and to provide data support for the relative predictability of tree death risk in humid area in time and space. Method: Taxodium distichum var. imbricatum, Taxodium distichum and Sequoia sempervirens in humid region were investigated to determine the hydraulic conductivity and vulnerability curve of branches and roots. Paraffin sections were made to observe the xylem anatomical structure, and parameters of the tracheids and pit structural properties were calculated. Result: P20, P50 and P88(the xylem water potential corresponding to the water loss of 20%, 50% and 88% represents the embolism resistance of branches and roots) of roots were all smaller than those of branches. The correlation coefficient between specific conductivity and P50of branches and roots was close to 0 (R2=0.01, P=0.62). Correlation analysis of xylem anatomical structure and functional traits showed that:tracheid diameter was positively correlated with specific conductivity (r=0.82, P=0.001), and tracheid density was negatively correlated with specific conductivity (r=-0.68, P=0.01). The pit torus area was positively correlated with P50 (r=0.4, P=0.19). Redundancy analysis revealed that:tracheid diameter had a significant effect on the specific conductivity and the interpretation degree was up to 80.1% (P=0.004). The pit torus area had a great influence on P50 and the interpretation degree was up to 70.1% (P=0.18). Conclusion: The embolism resistance of the roots of three Taxodiaceae species is weaker than that of branches. Tracheid diameter determines the specific conductivity of hydraulic efficiency. The pit torus area determines the embolism resistance to P50. There is no efficiency-safety trade-off in xylem hydraulic conducting system of branches and roots, as the material basis for this trade-off does not exist. Moreover, water conducting system for three species are of low efficiency and safety.

Key words: Taxodium distichum var. imbricatum, Taxodium distichum, Sequoia sempervirens, climate change, humid area, hydraulic efficiency, embolism resistance

CLC Number: