欢迎访问林业科学,今天是

林业科学 ›› 2026, Vol. 62 ›› Issue (1): 177-187.doi: 10.11707/j.1001-7488.LYKX20240770

• 研究论文 • 上一篇    下一篇

基于无人机的竹产品与疫木下山吊运系统设计与试验

陈洪立1,王冠凯1,张文福2,张建2,黄宏亮3,杨振华4,赵胤1,杜小强1,5,*()   

  1. 1. 浙江理工大学机械工程学院 杭州 310018
    2. 浙江省林业科学研究院 杭州 310000
    3. 浙江省湖州市安吉县林业局 湖州313300
    4. 龙泉市菇源自动化设备有限公司 龙泉 323700
    5. 全省农业智能感知与机器人重点实验室 杭州 310000
  • 收稿日期:2024-12-17 修回日期:2025-06-25 出版日期:2026-01-25 发布日期:2026-01-14
  • 通讯作者: 杜小强 E-mail:xqiangdu@zstu.edu.cn
  • 基金资助:
    国家林草装备科技创新园研发攻关项目(2023YG02);浙江省“领雁”研发攻关计划项目(2023C02053)。

Design and Testing of a Based on UAV Lifting System for Bamboo Product and Epidemic Tree Downhill

Hongli Chen1,Guankai Wang1,WenFu Zhang2,Jian Zhang2,Hongliang Huang3,Zhenhua Yang4,Yin Zhao1,Xiaoqiang Du1,5,*()   

  1. 1. School of Mechanical Engineering, Zhejiang Sci-Tech University Hangzhou 310018
    2. Zhejiang Academy of Forestry Hangzhou 310000
    3. Anji County Forestry Bureau in Huzhou City, Zhejiang Province Huzhou 313300
    4. Longquan Mushroom Source Automation Equipment Co., Ltd. Longquan 323700
    5. Zhejiang Key Laboratory of Intelligent Sensing and Robotics for Agriculture Hangzhou 310000
  • Received:2024-12-17 Revised:2025-06-25 Online:2026-01-25 Published:2026-01-14
  • Contact: Xiaoqiang Du E-mail:xqiangdu@zstu.edu.cn

摘要:

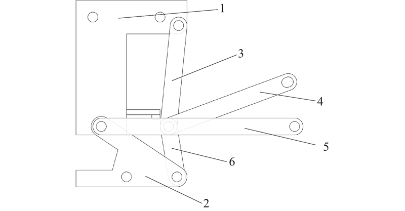
目的: 针对当前竹产品伐后下山主要依靠人工搬运、拖车运输存在劳动强度大、运送效率低、人力成本高及安全事故频发等问题,设计一种基于无人机的竹产品与疫木下山吊运系统,实现无人机在竹林或树林间的自主吊运并在危险情况下紧急脱困保护无人机安全的功能,减少人工参与、保障作业安全并克服山地垂直落差大的问题,推动毛竹产业向智能化、高效化发展。方法: 利用测定的竹梢和竹段形态特征参数,设计吊挂自动脱钩装置和无人机紧急脱困装置,应用SOLIDWORKS软件建立装置的三维模型,并开发驱动设备的软硬件系统。基于ANSYS Workbench软件的静态结构分析、静磁分析对吊运装置的关键结构进行仿真和理论计算,确定结构参数和电磁铁型号。进行室内试验,分析打包方式(魔术贴、凹扣和绳结)的效率、脱钩方式(重力钩和电磁主动钩)的稳定性和脱困机构的可行性。开展林间试验,测试整套吊运系统在实际工作场景下的效率和稳定性。结果: 室内试验表明,魔术贴打包方式平均用时21 s、凹扣组平均用时22.2 s、绳结组平均用时25.8 s,选用魔术贴进行打包;重力钩脱钩成功率为80%、电磁主动钩脱钩成功率为90%,确认采用电磁主动钩脱钩方式。林间试验结果显示,脱钩成功率为90%,其中挂钩平均耗时14.69 s,脱钩平均耗时1.19 s。在上升、下降和前进状态下,脱困成功率分别为80%、90%和90%。结论: 基于无人机的竹产品与疫木下山吊运系统能够减少人工参与、提高运送效率、降低成本和发生安全事故的概率,可满足现场应用需求。

关键词: 无人机, 竹林吊运, 紧急脱困, 自动脱钩, 仿真优化, 林业应用

Abstract:

Objective: In response to the current problems of high labor intensity, low transportation efficiency, high labor costs, and frequent safety accidents caused by manual handling and towing of bamboo products after logging, a UAV-based bamboo product and epidemic wood downhill lifting system was designed to enable the function of using UAVs for autonomous lifting in bamboo forests and emergency rescue in dangerous situations to protect UAVs, reduce manual involvement, ensure the safety of operators, and overcome the problem of large vertical drops in mountainous areas. Method: The measured morphological characteristic parameters of bamboo shoots and bamboo segments were used to design a hanging automatic decoupling device and a UAVs emergency rescue device. A 3D model of the devices was established using SOLIDWORKS software, and the corresponding hardware and software systems for operating the equipment were developed. Static structural analysis of ANSYS Workbench software and magnetostatic analysis were conducted using ANSYS Workbench to simulate and calculate the key structures of the lifting device and determine the structural parameters and electromagnet model. Indoor experiments were conducted to analyze the efficiency of the packaging methods (velcro, concave hooks, and knots), the stability of decoupling methods (gravity hooks and electromagnetic active hooks), and the feasibility of the escape mechanism. Forest experiments were also conducted to test the efficiency and stability of the entire lifting system in real working scenarios. Result: Indoor tests showed that the average time was 21 s for the velcro packing, 22.2 s for the concave hook group, and 25.8 s for the knot group, leading to the selection of velcro for packing. The success rate for gravity hook disengagement was 80%, while the success rate for electromagnetic active hook disengagement was 90%, confirming the adoption of the electromagnetic active hook detachment method. Field test results showed a disengagement success rate of 90%, with an average hook hanging time of 14.69 s and an average disengagement time of 1.19 s. The success rates for disengagement during ascending, descending, and forward flight were 80%, 90%, and 90%, respectively. Conclusion: The bamboo product and epidemic wood downhill lifting system based on UAV-based lifting system can reduce manual involvement, improve transportation efficiency, lower labor costs, and reduce the probability of safety accidents. Experiments have demonstrated that the system meets the requirements for on-site applications.

Key words: UAV, bamboo forest lifting, emergency rescue, automatic decoupling, simulation analysis, forestry applications

中图分类号: