欢迎访问林业科学,今天是

林业科学 ›› 2025, Vol. 61 ›› Issue (9): 39-47.doi: 10.11707/j.1001-7488.LYKX20230537

• 研究论文 • 上一篇    

蒙古栎次生林林下红松幼树开敞度优化方法

刘迪1,2,周超凡2,雷相东2,刘宪钊2,张会儒2,1,*(),何潇2   

  1. 1. 中国林业科学研究院华北林业实验中心 北京 102300
    2. 中国林业科学研究院资源信息研究所 林木资源高效生产全国重点实验室 国家林业和草原局森林经营与生长模拟重点实验室 北京 100091
  • 收稿日期:2023-11-10 出版日期:2025-09-25 发布日期:2025-10-10
  • 通讯作者: 张会儒 E-mail:huiru@caf.ac.cn
  • 基金资助:
    “十四五”国家重点研发计划“森林立地质量评价与全周期多功能经营关键技术”(2022YFD22005);国家自然科学基金项目面上项目“基于博弈论的近自然防护林单木稳定性机制”(32271878)。

Optimization Method of Canopy Openness Index for Korean Pine Saplings within a Mongolian Oak Secondary Forest

Di Liu1,2,Chaofan Zhou2,Xiangdong Lei2,Xianzhao Liu2,Huiru Zhang2,1,*(),Xiao He2   

  1. 1. Experimental Centre of Forestry in North China, Chinese Academy of Forestry Beijing 102300
    2. State Key Laboratory of Efficient Production of Forest Resources Key Laboratory of Forest Management and Growth Modelling, National Forestry and Grassland Administration Institute of Forest Resource Information Techniques, Chinese Academy of Forestry Beijing 100091
  • Received:2023-11-10 Online:2025-09-25 Published:2025-10-10
  • Contact: Huiru Zhang E-mail:huiru@caf.ac.cn

摘要:

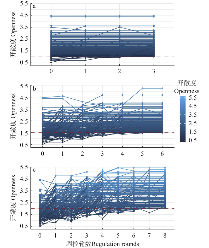
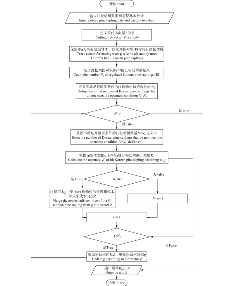
目的: 模拟采伐蒙古栎次生林冠层林木,有针对性地改善林下红松幼树光照条件,促进红松幼树生长发育,为加快次生林向顶级群落恢复提供科学依据。方法: 以蒙古栎次生林1 hm2大样地为研究对象,通过距离控制和长势优劣从核心区筛选出满足条件的目标红松幼树。采用不同阈值(KT =1、1.5、2)的个体开敞度优化方案调控林下目标红松幼树的开敞度,开敞度优化方案通过开敞度两水平(包括林木水平和林分水平,林木水平指保证每一株目标红松幼树的开敞度均达到阈值,林分水平指调控某一株目标红松幼树的同时兼顾林分中其他目标红松幼树)迭代优化方法实现。比较不同开敞度阈值下模拟采伐前后林分非空间结构(林分总径级数、总物种数和郁闭度)和空间结构(角尺度、大小比数和混交度)的变化,以及不同处理间红松幼树开敞度和开敞度变化率的差异。结果: 通过距离控制和长势优劣共筛选出145株目标红松幼树,幼树胸径介于1.1~4.9 cm之间、树高介于1.5~4.7 m之间、冠幅半径介于0.6~1.7 m之间。KT为1、1.5和2时,目标红松幼树分别经3、6和8轮以及采伐14、130和262株冠层林木后达到开敞度条件。模拟优化采伐后,红松幼树开敞度得到整体改善:KT为1时,开敞度平均比对照增加5.7%,但无显著差异;KT为1.5时,开敞度平均比对照增加44.7%,差异显著;KT为2时,开敞度平均比对照增加107.7%,差异显著。模拟采伐前后,林分总径级数和总物种数不变,空间结构指标均无显著变化。3种开敞度阈值(KT =1、1.5、2)下,采伐的蓄积强度分别为1.5%、15.6%和37.2%。与未采伐林分(CK)的郁闭度(0.646)相比,3种开敞度阈值(KT =1、1.5、2)下的郁闭度分别降低0.5%、13.3%和33.1%。结论: 红松幼树开敞度两水平迭代优化方法在改善林下红松幼树光照条件的同时可保持大部分林分结构稳定,开敞度阈值1.5优于1或2。本研究提出的优化方法可获得不同开敞度阈值下采伐总轮数、每轮采伐木数量、每株目标红松幼树开敞度调控路线以及采伐木分布情况,对于补植后红松幼树的开敞度调控以及次生林的管理实践具有较大指导价值。

关键词: 冠层优化, 开敞度调控, 蒙古栎次生林, 红松幼树

Abstract:

Objective: The purpose of this study was to improve the light conditions of the Korean pine saplings under the forest by simulating the cutting of the canopy layer of the secondary forest, so as to promote the growth and development of the Korean pine saplings and accelerate the recovery process of the secondary forest. Method: According to distance control and growth quality, Korean pine saplings were selected from the core area in a 1 hm2 large plot of Mongolian oak secondary forest. Individual openness optimization schemes with different thresholds (KT =1, 1.5, 2) were used to control the openness of target Korean pine saplings under the forest. The openness optimization scheme is implemented through a two-level iterative optimization method, encompassing both tree and stand levels. At the tree level, the objective is to ensure that the openness of each target Korean pine sapling meets the predefined threshold value. Simultaneously, at the stand level, the optimization involves controlling a specific target Korean pine sapling while taking into account other target Korean pine saplings within the stand. The changes of non-spatial structure (total diameter classes, total species and canopy density) and spatial structure (uniform angle index, neighbourhood comparison and mingling) of stands before and after simulated cutting under different openness thresholds were compared, as well as the differences in openness and openness change rate of Korean pine saplings under different treatments. Result: A total of 145 target Korean pine saplings were selected by distance control and growth quality. The target Korean pine saplings were 1.1?4.9 m in DBH, 1.5?4.7 m in height and 0.6?1.7 m in crown radius. When KT was 1, 1.5 and 2, the target Korean pine saplings reach the openness condition after cutting 14, 130 and 262 canopy trees for 3, 6 and 8 rounds respectively. After the optimized cutting simulation, the openness of Korean pine saplings was improved as a whole: when KT was 1, the openness increased by 5.7% on average compared with the control, but there was no significant difference; when KT was 1.5, the openness was 44.7% on average higher than that of the control, with significant difference; when KT was 2, the openness was 107.7% on average higher than that of the control, with significant difference. Pre- and post-simulated harvesting activities exhibited no alterations in the total diameter classes and total species within the forest stand. Moreover, spatial structural metrics exhibited minimal changes. Under three different thresholds of openness (KT = 1, 1.5, 2), the stocking intensity of harvesting is 1.5%, 15.6%, and 37.2% respectively. Compared with the canopy density of the control (CK) at 0.646, the canopy density under the three openness thresholds (KT = 1, 1.5, 2) decrease by 0.5%, 13.3%, and 33.1% respectively. Conclusion: The two-level iterative optimization method for the openness index of Korean pine saplings improved the light conditions of Korean pine saplings under the forest, while maintaining the stability of most stand structures, and the openness threshold KT =1.5 was better than KT =1 or 2. The optimization methodology introduced in this research enables the determination of key parameters, including the total count of cutting rounds, the number of cutting trees within each round, the openness regulation route of each target Korean pine sapling and the distribution of cutting trees under different openness thresholds. This comprehensive framework offers invaluable guidance for shaping the post-replanting thinning strategy of Korean pine saplings and informs best practices for managing secondary forest ecosystems.

Key words: canopy optimization, openness, Mongolian oak secondary forest, Korean pine saplings

中图分类号: